EKP

o ekologii materiálů a procesů v elektotechnice

Uživatelské nástroje

    Warning: Undefined array key "REMOTE_USER" in /volume1/web/dokuwiki/ekp/lib/tpl/greensteel/tpl_header.php on line 44 Call Stack: 0.0001 361384 1. {main}() /volume1/web/dokuwiki/ekp/doku.php:0 0.7619 505608 2. act_dispatch() /volume1/web/dokuwiki/ekp/doku.php:131 0.7819 509536 3. include('/volume1/web/dokuwiki/ekp/lib/tpl/greensteel/main.php') /volume1/web/dokuwiki/ekp/inc/actions.php:30 0.8091 524328 4. include('/volume1/web/dokuwiki/ekp/lib/tpl/greensteel/tpl_header.php') /volume1/web/dokuwiki/ekp/lib/tpl/greensteel/main.php:34

Nástroje pro tento web


vlhkost:mechanizmus

Mechanizmus navlhání

[1]

Jednou z nejzávažnějších forem znehodnocování materiálů (izolantů) provozním prostředím je navlhání. Dochází k němu u materiálu, který je ve styku s vlhkým vzduchem. Jde jednak o jev povrchový 1) a jednak vnitřní, kdy nastává pronikání (penetrace) vody do materiálu. Prvnímu případu se říká adsorpce, druhému absorpce. Pro oba jevy se někdy používá shodné označení sorpce. Obecně při sorpčních jevech se nemusí jednat jen o sorpci vlhkosti, ale o sorpci jakéhokoli plynu nebo páry. Substance, která plyn nebo páru přijímá, se nazývá (ad)sorbent, (ad)sorbovaný plyn se nazývá (ad)sorbát. Vlhkostní znehodnocování je sorpční znehodnocování ve vlhkém vzduchu.

Nemění-li se množství vodní páry v prostředí, ustaví se obsah vody v materiálu na určité rovnovážné hodnotě. O rovnovážném stavu rozhoduje řada činitelů. Především je to obsah vodní páry v okolním prostředí, dále teplota a posléze způsob, jak je voda v tuhé látce vázaná. Ten je v neposlední řadě závislý na charakteru tuhé látky, t.j. jejích chemických a fyzikálních vlastnostech. Voda může být v tuhé látce přítomná jako:

  • Voda krystalická. (s touto formou vázané vody se setkáváme u krystalických hydrátů).
  • Voda osmotická. (jde o vodu, která je součástí materiálů přírodního původu jako jsou lněná vlákna, dřevo, papír a pod). 2).
  • Voda volná.
  • Voda kapilární.
  • Voda adsorbovaná/absorbovaná.

Voda volná je voda uložená volně v pórech, kam se dostala po bezprostředním styku materiálu s kapalnou vodou, nebo procesem kondenzace, poklesne-li povrchová teplota materiálu pod teplotu rosného vzduchu okolního vzduchu.

Voda rozpuštěná je voda v polymerních materiálech s čistě uhlovodíkovým řetězcem (např. polystyrenu, polyethylenu). V těchto případech je molekula vody volně uložena mezi makromolekulami nebo uvnitř makromolekul.

S vodou kapilární se setkáváme u jemně porézních látek vláknitých materiálů. Voda je vázaná v kapilárách, v mezních hranicích částic tuhé látky, mezi vlákny tuhé látky atp. Forma vedoucí k takovéto vazbě vody v materiálu se nazývá kapilární kondenzace.

Voda adsorbovaná je voda ulpívající na povrchu vlivem povrchových sil působících v mezní vrstvě (rozhraní tuhé a plynné fáze). Tloušťka nahromaděné vody obvykle nepřesahuje několik molekulárních vrstev. Mechanizmus vzniku takovéto vrstvy se nazývá adsorpce a není omezen jen na vnější povrch tuhé látky. K adsorpci může dojít i uvnitř tuhé látky, pokud látka obsahuje vnitřní povrchy (póry). U makromolekulárních látek jsou adsorpčními místy hydrofilní skupiny.

Z degradačního hlediska jsou nejvýznamnější poslední dvě formy existence vody v materiálu. Problematika navlhání tuhých látek se zabývá jednak studiem rovnovážných soustav vodní pára - tuhá látka, zejména s ohledem na formu vazby vody s materiálem, jednak dynamikou sorpce, tj. časovým průběhem sorpce, který vede k rovnovážnému stavu.

Sorpční jevy

Adsorpčním znehodnocováním rozumíme ty jevy, jež jsou podmíněné adsorpcí molekul vody na povrchu materiálu. Povrchem zde myšlen i povrch uvnitř materiálu (např. stěny pórů, kapilár apod.). Některé látky nemají vnitřní povrchy v geometrickém slova smyslu a přesto uvnitř těchto látek dochází k adsorpci. Tak je tomu např. u makromolekulárních sloučenin, které z hlediska geometrických představ představují kontinua, tj. látky souvisle vyplněné hmotou. U těchto látek, namísto geometrické představy adsorpčního povrchu, vyhoví spíše představa adsorpčních bodů. Těmito body rozumíme např. hydrofilní skupiny makromolekul.

K adsorpčním dějům dochází v hraniční ploše mezi tuhou látkou a jí obklopující jinou fází. V této hraniční ploše vykazuje tuhá fáze poněkud odlišné vlastnosti než vnitřní struktura (Povrch a jeho vlastnosti). Síla, která drží pohromadě stavební částice tuhé látky, může být různého původu. U krystalických látek jsou částice uspořádány v prostorové mřížce. Ta může mít trojí podobu:

  • iontovou,
  • homeopolární,
  • molekulární.

V iontových krystalech jsou základní stavební kameny (ionty) vzájemně vázány silami elektrostatické povahy. V hemeopolární mřížce jsou neutrální atomy vázány jednoduchými chemickými valenčními silami. U molekulární mřížky jsou molekuly v pravidelném uspořádání drženy van der Waalsovými přitažlivými silami. Ať je povaha síly, která drží pohromadě stavební částice tuhé látky jakákoliv, na povrchu nemůže silové pole náhle zmizet, nýbrž musí omezeně zasahovat do prostoru. Může proto přitahovat molekuly plynu k povrchu. Příčinou adsorpce vlhkosti jsou právě tyto přitažlivé síly, které působí mezi molekulami izolantu a vody.

Základní adsorpční síly, které se uplatňují v soustavě plyn tuhá látka jsou:

Elektrostatické síly, které vznikají v případě, že částice adsorbentu mají elektrostatický náboj. Příkladem je adsorpce iontů plynu nebo páry látkou s iontovou strukturou (např. krystal KCl). Plyny jsou však velmi málo disociovány v ionty a proto je tento případ adsorpce málo důležitý.

van der Waalesovy disperzní síly jsou síly fyzikální a jsou jimi drženy pohromadě např. molekuly plynu a nepolárních kapalin. Tyto síly se uplatňují u látek, které mají stálý elektrický dipól. Značný dipólový moment má voda. Tato vazba se vyznačuje poměrně malou vazebnou energií a uplatňuje se slabě i v případě, že nastává chemisorpce nebo převažují elektrostatické síly (Coulombická síla)3).

Chemická vazba (chemisorpce) nastává v případě vazby molekul plynu (páry) s adsorbentem chemickými silami. Vazebná energie chemisorpce je větší, než v případě van der Waalesovy vazby.

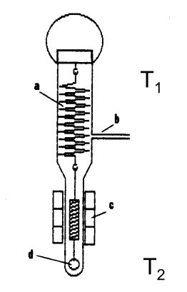
~~Obr.#~~ Mc Bainovy vahy

K adsorpci dochází u všech typů látek tuhé fáze. Tedy i u „nekrystalických“ makromolekulárních organických látek. U polárních makromolekulárních organických látek dochází k adsorpci molekul vody na hydrofilních skupinách, a to vlivem van der Waalsových sil.
U nepolárních makromolekulárních látek se uplatňují pouze van der Waalsovy síly mezi molekulami vody a molekulami polymeru. Protože při této sorpci nelze přesně vyznačit adsorpční místa, hovoříme o „rozpouštění“ molekul vody v polymeru.

Pro poznání vlivu vlhké atmosféry na tuhé dielektrikum je nutné umět zjišťovat adsorpční vlastnosti jednotlivých materiálů. K experimentálnímu studiu adsorpce se používají sorpční váhy Mc Bainový váhy (obr. 1). Ve svislé trubici, z nichž se vyčerpá vzduch, je umístěna spirálová váha. Adsorbent je zavěšen na konec spirály. V dolní části trubice je v kapalném stavu malé množství sorbátu. Mění-li se v dolní části trubice teplota T2, dochází ke změně tlaku par sorbátu. Ten se sorbuje zavěšeným adsorbentem. Hmotnostní přírůstek adsorbentu se projeví prodloužením spirály. K sorpci dochází při teplotě T1, která je pomocí termostatu udržována v horní části vah. Množství takto sorbovaného plynu prodaný tlak a teplotu můžeme obecně vyjádřit vztahem:

c = f(T , p).

Jestliže během experimentu měníme tlak plynu a teplotu necháváme konstantní, obdržíme závislost která se nazývá (ad)sorpční izoterma (~~rov.#~~):

c = f(p)_T

~~Obr.#~~ Obecný průběh sorpční izotermy

Průběhu obecné adsorpční izotermy je na obr. 2. Sorpce v tomto případě s tlakem vzrůstá až do stavu nasycení. Při malých tlacích vzrůstá sorbované množství s tlakem lineárně. Tuto skutečnost lze vystihnout vztahem (~~rov.#~~): c = s.p kde s je konstanta sorpce. Tento vztah se nazývá Henryho zákon. Byl odvozen pro soustavu kapalina plyn. Při nízkých tlacích však platí i pro soustavu tuhá látka plyn. Při vyšších sorpcích lze adsorbovné množství vyjádřit mocninovou závislostí (~~rov.#~~): c = s.p^m kde m je exponent < 1. Křivka znázorňující tuto rovnici se nazývá Freundlichova izoterma. Nevystihuje plně jevy pozorované při vyšších tlacích vodní páry.

Zvýšení teploty při konstantním tlaku se projeví zmenšení adsorpce. Stupeň snížení adsorpce se nedá předem přesně stanovit. Do značné míry závisí na vlastnostech sorbovaného plynu (páry). Obecně je adsorpce tím větší, čím snadněji pára nebo plyn kondenzuje. Z toho se odvozuje poznatek, že fyzikální adsorpci podmiňují stejné síly jako kondenzaci (van der Waalsovy síly). Obráceným pochodem k adsorpci je desorpce. Dochází k ní, budeme-li snižovat tenzi plynu.

Velikost sorpce ovlivňuje rovněž polarita adsorbentu a sorbátu. Polární adsorbát adsorbuje polární plyny a páry více než nepolární adsorbent.

Předpokládejme, že adsorbované molekuly zakotvují na tzv. adsorpčních místech a že v důsledku svého tepelného pohybu jsou schopny se vypařit zpět do plynné fáze. Tento předpoklad vede ke vzniku lokalizované monomolekulární adsorbované vrstvy. Předpokládejme, také že adsorpce probíhá na adsorpčních místech homogenním povrchu jen do vytvoření jedné vrstvy a že adsorbované částice se vzájemně neovlivňují. To znamená, že molekula plynu, která narazí na již adsorbovanou molekulu, se okamžitě vrací do plynné fáze. Maximální adsorbované množství při dodržení těchto předpokladů odpovídá komplexnímu pokrytí povrchu adsorbovanou vrstvou molekul.

Počet právě adsorbovaných molekul můžeme vyjádřit vztahem (~~rov.#~~): sigma/sigma_0 = k_u/{1 + k_u}

kde sigma_0 je počet adsorpčních míst, sigma je počet právě adsorbovaných molekul a k_u je ve hodnota respektující počet molekul v jednotkovém objemu.4) Tento vztah vyjadřuje tzv. Langmuirovou adsorpční izotermu.

Langmuirova izoterma popisuje průběh adsorpce, která vznikne v případě, že dojde k chemisorpci (stavu, kdy vznikne na povrchu monomolekulární vrstva). V reálných podmínkách se však může na adsorpčních místech vytvořit více adsorbovaných vrstev. Tento typ adsorpce vysvětluje teorie BET 5), která předpokládá stav „dynamické rovnováhy“ každé adsorbované vrstvy. Pro poměr sigma/sigma_0 lze v tomto případě odvodit vztah (~~rov.#~~) 6):

{sigma/sigma_0} = {{a_t.x}/{1 - x}} {1 - (r + 1)x^r + r.x^r + 1}/{1 + (a_t - 1)x - a_t{x^r} + 1}

Pro r = 1 tato rovnice vyjadřuje Langmuirovu izotermu.

Teorie BET popisuje pět základních adsorpčních izoterma: Obr.3 Základní typy sorpčních izoterm z nichž izotermy IV a V typy vystihují kapilární kondenzaci.

Sorpční hystereze

Snižuje-li se tenze vodní páry, dochází k procesu obrácenému k adsorpci a to desorpci vodní páry z povrchu. Porovnáme-li průběh adsorpční a desorpční křivky, můžeme zjistit určitý nesouhlas v průběhu sorbovaného množství. Tento nesouhlas nazýváme sorpční hystereze.

~~Obr.#~~ Hystereze u sorpčně-desorpční izotermy

Pro vysvětlení sorpční hystereze neexistuje jednoznačná teorie. Jedna spojuje sorpční hysterezi s kapilární kondenzací.Jiná vychází z předpokladu, že adsorbent při příjmu sorbátu bobtná. Toto bobtnání způsobí trhání adsorbentu. Tím dojde k náhlému porušení povrchových sil a zvýšení sorpční

~~Obr.#~~ Mechanizmus bobtnání

plochy uvnitř adsorbentu. V další etapě sorpčního procesu je bobtnání omezeno elastickou soudržností a je přibližně úměrné po vrchovému tlaku. Povrchové síly se totiž mění se vzdáleností. Proto jsou síly, které strukturní skladbu roztrhnou slabší než síly, které působily původně proti tomuto trhání. Při zpětném přechodu se soustava zcela „uzavře“, až když tlak vyvolávající rozevření ustoupí a uplatní se opět slabší povrchové síly. K tomu dojde s určitým časovým zpožděním a projeví se to zbytkovým sorbovaným množstvím v materiálu.

Hystereze je buď reprodukovatelná (v tom smyslu, že může být několikrát za sebou měřena) nebo nereprodukovatelná. Z hlediska klasifikace degradačních procesu je sorpční hystereze vodní páry částečně vratný děj znehodnocování.

Kapilární kondenzace

~~Obr.#~~ Mechanizmus zaplňování pórů

Napětí nasycené vodní páry nad zakřiveným povrchem je jiné než nad povrchem rovinným. Nad konvexním povrchem je větší, nad povrchem konkávním je menší. Změna tenze páry se zakřivením povrchu kapaliny je srozumitelná z hlediska kinetické představy. Můžeme si představit, že molekuly kapaliny v rovinném povrchu jsou ponořeny z poloviny do kapaliny. Molekuly tvořící konvexní povrch, jsou ponořeny do kapaliny jen z menší části, molekuly tvořící konkávní povrch, z větší části. Z toho důvodu působí na molekuly konvexního povrchu směrem dovnitř kapaliny menší síly a na molekuly konkávního povrchu větší síly než na molekuly rovinného povrchu.

Molekuly konvexních povrchů se proto snadněji vypaří než molekuly rovných povrchů a tím je dána jejich větší tenze. Voda vsáknutá do porézní hmoty, v níž vyplňuje kapilární prostory, smáčí stěny kapilár a vytváří konkávní povrch. Pro jednoduchost si představme póry jako kruhově válcové kapiláry o různých poloměrech. Čím užší je kapilára, tím větší je zakřivení povrchu kapaliny a tím menší je tlak páry, která je s kapalinou v rovnováze. Ke každému tlaku páry náleží určitá křivost povrchu kapaliny, která je s párou v rovnováze.

Poloměr zakřivení je dán Thomsonovým vztahem (~~rov.#~~):

r = {2 {sigma} V}/{RT log({p/p_0}) cos{Theta}}

Při tlaku p páry budou zaplněny kapalinou všechny válcové kapiláry s menším r, než jaký se vypočte ze Thomsonova vztahu, a všechny kapiláry s větším průměrem budou prázdné. Se zvětšujícím se tlakem páry se budou postupně zaplňovat kapiláry s větším r kondenzovanou párou. Proto tento druh sorpce vodní páry označujeme kapilární kondenzací. Čím je smáčení nedokonalejší, tzn. čím je stykový úhel větší, tím jsou podmínky pro kapilární kondenzaci méně příznivé. Není samozřejmě nutné předpokládat jen cylindrické kapiláry. Při libovolném tvaru póru a kapilárním prostorů budou existovat povrchy kapaliny určitého středního zakřivení, které budou při určitém tlaku, daném Thomsonovou rovnicí, v rovnováze s párou. Závislost tlaku vodní páry nad meniskem a poloměrem kapiláry je v této tabulce [3]:

p/p0 r (nm)
0,10 0,46
0,40 1,17
0,60 2,11
0,90 10.25
0,99 107,50
0,999 1077
~~Obr.#~~ Zaplňování makropórů vodou

V kapilárách s poloměrem větším než 107,7 nm se tlak nad meniskem prakticky rovná tlaku nad rovinným povrchem. V kapilárách této velikosti ke kapilární kondenzaci nedochází. Takové kapiláry se nazývají makropóry a mohou se zaplnit jen při bezprostředním styku s kapalnou vodou. Dolní mez, pod níž o kapilární kondenzaci nelze uvažovat, tvoří póry, které se svou velikostí blíží řádově průměru molekuly vodní páry. Takové póry se nazývají mikropóry.Póry, v nichž dochází ke kapilární kondenzaci a leží tedy na přechodu od makropóru k mikropórům, se nazývají přechodné póry (mezopóry)7)

Kapilární kondenzace je vázána pro různé kapaliny na interval poloměrů pórů od 2 do 100 nm a uplatňuje se v rozmezí tlaků p/po = 0,3 až 1. U vody je toto rozmezí tlaků menší (asi od 0,8 do 1).

~~Obr.#~~ Sorpčně-desorpční izoterma IV. typu

Pochopení kapilární kondenzace dovoluje vysvětlit celý proces fyzikální adsorpce. Při malých hodnotách tlaku se nejdříve zaplní mikropóry a u přechodných pórů a makropórů se na stěnách vytvoří adsorbované vrstvičky. Ty se postupně zesilují (polymolekulární adsorpce) až s dalším růstem vytváří menisky typické pro přechodné póry, které se mohou začít zaplňovat kapilární kondenzací. Na obr. 7. je uvedena adsorpční izoterma kapilárně porézní látky. Bývá to zpravidla izoterma IV. typu. Je patrno, že při nižších tlacích vodní páry (větev A, B, C) probíhá v pórech látky polymolekulálrní adsorpce. Kapilární kondenzace se uplatňuje až při vyšších relativních tenzích páry. Je příčinou stoupání adsorpční izotermy na větvi CDEF). Na úseku EF jsou všechny kapiláry úplně zaplněny a nemůže v nich kondenzovat další vodní pára. Stadium,kdy se začnou zaplňovat makropóry (p/po = 1), není již na adsorpční izotermě zřejmé. Celý proces adsorpce kapilárně porézní látkou, a tudíž celý průběh sorpční izotermy není možné vysvětlit pouze teorií kapilární kondenzace. Ta se týká jen části izotermy při vyšších hodnotách. Část izotermy při nižších tlacích popisuje teorie polymolekulární adsorpce.

Jednoznačná teorie sorpční hystereze neexistuje. Jedna z teorii předpokládá rozdílný počet sorpčních míst při desorpci a adsorpci (snížený počet potenciálně volných hydroxylových skupin při procesu adsorpce). Připouští se možnost kónických pórů mikrokapilár což způsobuje rozdílné poloměry vytvářených menisků při adsorpci a desorpci. Jiná teorie vychází hygroelastického efektu, vyvolávajícího rozdílná mechanická napětí při desorpci a adsorpci.

1)
Povrch téměř každé látky ve styku s vlhkou atmosférou je pokryt vrstvou molekul vody.
2)
Obdobnou vlastnost přijímání vody mají ale i některé materiály syntetického původu, např. pryž. Jsou-li totiž v materiálu rozpustné látky, potom voda přijímaná tuhou látkou má tendenci v látce vytvářet zředěné vodné roztoky
3)
V molekule vody má atom kyslíku v důsledku vysoké elektronegativity částečně záporný náboj, zatím co na atomu vodíku převažuje náboj kladný. Vzniká tak dipól
4) , 6)
Odvození tohoto vztahu je v [1]
5)
podle autorů Brunauera, Emmetta a Tellera
7)
Molekula vody cca 0,3 nm, Ultramikropóry: průměr méně než 0,5 nm, Mikropóry: průměr 0,5 až 2 nm, Mezopóry: průměr 2 až 50 nm, Makropóry: průměr více než 50 nm.
vlhkost/mechanizmus.txt · Poslední úprava: autor: 127.0.0.1